XP系列螺旋式排屑裝置
時間:2011-01-06 17:55

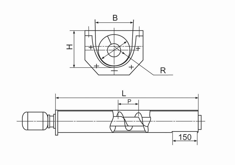
本裝置通過減速機驅動帶有螺旋葉片的螺旋軸,推動物料向前(向后),集中在出料口,落入指定位置。本裝置主要用于輸送切削下來的金屬、非金屬材料的粉狀、顆粒狀和較短的切削。主要適用于排屑空間較小的機床。安裝方便,工作可靠,可選擇推進速度。主要有以下四種形式:
01型:有旋轉軸、集屑槽;
02型:有旋轉軸、無集屑槽;
03型:無旋轉軸、有集屑槽;
02型:無芯、無集屑槽。
并可以與其他排屑裝置組合起來用
| 型號 | 葉片直徑D | 葉片節距P | 較大長度 | 排屑槽寬度B | 排泄量(Kg/h) | 電機功率(W) |
| XP80 | 80 | 80 | 3000 | 100 | 150 | 100-750 |
| XP100 | 100 | 100 | 5000 | 120 | 180 | |
| XP120 | 120 | 100 | 10000 | 150 | 210 | |
| XP150 | 150 | 100 | 10000 | 180 | 200 |

上一篇:CP系列磁性排屑器 下一篇:這是最后一篇
